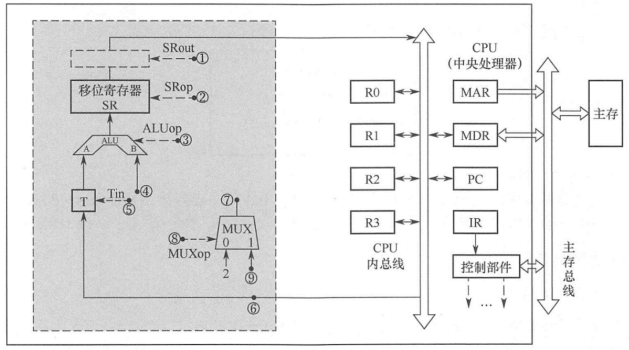
某16位计算机的主存按字节编码,存取单位为16位;采用16位定长指令字格式;CPU采用单总线结构,主要部分如下图所示。图中R0〜R3为通用寄存器;T为暂存器;SR为移位寄存器,可实现直送(mov)、左移一位(left)和右移一位(right)3种操作,控制信号为SRop,SR的输出由信号SRout控制;ALU可实现直送A(mova)、A加B(add)、A减B(sub)、A与B(and)、A或B(or)、非A(not)、A加1(inc)7种操作,控制信号为ALUop。
请回答下列问题。
(1)图中哪些寄存器是程序员可见的?为何要设置暂存器T?
(2)控制信号ALUop和SRop的位数至少各是多少?
(3)控制信号SRout所控制部件的名称或作用是什么?
(4)端点①~⑨中,哪些端点须连接到控制部件的输出端?
(5)为完善单总线数据通路,需要在端点①~⑨中相应的端点之间添加必要的连线。写出连线的起点和终点,以正确表示数据的流动方向。
(6)为什么二路选择器MUX的一个输入端是2?