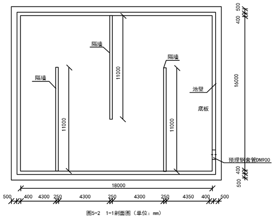
A公司承建某地下水池工程,为现浇钢筋混凝土结构。混凝土设计强度为C35,抗渗等级为P8。水池结构内设有三道钢筋混凝土隔墙,顶板上设置有通气孔及入孔,水池结构如图5-1,5-2所示。

A公司项目部将场区内降水工程分包给B公司。结构施工正值雨期,为满足施工开挖及结构抗浮要求,B公司编制了降排水方案,经项目部技术负责人审批后报送监理单位。
水池顶板混凝土采用支架整体现浇,项目部编制了顶板支架支拆施工方案,明确了拆除支架时混凝土强度、拆除安全措施,如设置上下爬梯、洞口防护等。
项目部计划在顶板模板拆除后,进行底板防水施工,然后再进行满水试验,被监理工程师制止。
项目部编制了水池满水试验方案,方案中对试验流程、试验前准备工作,注水过程、水位观测、质量、安全等内容进行了详细的描述,经审批后进行了满水试验。

1.B公司方案报送审批流程是否正确?说明理由。